Ein QUADRO-Artikel aus Elektor vom April 1973
Die holländisch deutsche Zeitschrift Elektor war in 1973 erst drei Jahre alt, als dieser Artikel erschien und auch noch in 2023 mit durch und durch kompetenten Erklärungen auffiel.
Viel zu viele Redakteure der populären Medien und Zeitungen und speziell der Hifi-Magazine ergingen sich im Abtippen der Presseinformationen der Marketingabteilungen der drei verbliebenen Konsortien. Und die kämpften einen gnadenlosen Marketing-Kampf um die weltweite Führungsposition und den zu erwartenden Profit. Am Ende gingen alle verbliebenen QUADRO-Systeme den Bach runter. Millionen Dollar wurden verbrannt.
.
Quadro 1-2-3-4 - Elektor April 1973
Dem Phänomen "Quadrofonie" wurden bereits (seit 1971 - und wir schreiben April 1973) viele Publikationen gewidmet, doch scheint auf diesem Gebiet immer noch viel Verwirrung zu herrschen. Durch Betrachtung und Vergleich der wichtigsten Systeme soll mit diesem Artikel ein wenig Licht ins Dunkel gebracht werden.
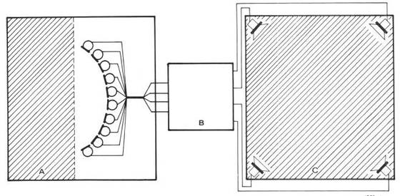
Um einen einfachen Vergleich der verschiedenen Systeme zu ermöglichen, wird von einem Blockschema des gesamten Schallsignalweges ausgegangen (Bild 1).
.
.
Hier im Bild ist mit "Block A" der Aufnahmeraum (Studio, Konzertsaal usw.) bezeichnet, worin eine gewisse Anzahl Mikrofone placiert ist. Mikrofontyp, Aufstellungsort und Anzahl sind für maximale Übertragungsqualität von Bedeutung. Hierüber werden z.Zt. viele fundamentale Untersuchungen angestellt, was jedoch in diesem Artikel außer Betracht bleiben soll.
"Block B" stellt die gesamte Kette elektronischer Einrichtungen wie Kodierung, Übertragung (Platte, Band oder Radio) und Dekodierung dar. In diese Kette wird nun eines der möglichen "Quadrofonie-Systeme" aufgenommen.
Das Ende dieser Kette bildet "Block C" als Wohnraum, in dem meistens in den vier Ecken die Lautsprecher stehen. Die verschiedenen Systeme in Block B können nun miteinander verglichen werden, indem der in Raum C wiedergegebene Schalleindruck in Beziehung gesetzt wird zu dem ursprünglichen Schalleindruck, der (vom Aufnahme-techniker) aus dem Schallgeschehen in "Block A" abgeleitet wurde. Zunächst sollen die grundlegenden Arbeitsweisen der verschiedenen Systeme kurz erläutert werden.
.
Systemarten
Im allgemeinen kann zwischen drei verschiedenen Systemen unterschieden werden:
- der Quasi-Quadrofonie (oder auch Pseudo-Quadrofonie, ähnlich der Pseudo-Stereofonie), der
- "echten" Quadrofonie mit 4 unabhängigen Übertragungskanälen und der
- Quadrofonie nach Matrix-Systemen.
.
Die Quasi-Quadrofonie
Die Quasi-Quadrofonie läßt bei der Wiedergabe einen "räumlichen Eindruck" entstehen - ungeachtet dessen, ob das wiedergegebene Klangbild tatsächlich dem Original mit all seinen nuancierten Klangbildfeinheiten entspricht. Bei solchen Systemen wird beispielsweise den beiden hinteren Lautsprechern Nachhall oder das Differenzprodukt zweier Stereokanäle, das meistens viel Nachhall enthält, zugeführt. Dies jedoch ist keine Quadrofonie im eigentlichen Sinne und soll deswegen auch nicht weiter in Betracht gezogen werden.
Ein "echtes" Quadrofoniesystem
Ein "echtes" Quadrofoniesystem verfügt über vier verschiedene Kanäle, die unabhängig voneinander den Abschnitt B (Block B) in Bild 1 durchlaufen - also vom Mikrofon zum Lautsprecher. Ein Beispiel dafür ist die CD-4-Platte. Auch eine Rundfunkübertragung (einmal als gedankliches Modell) mit zwei Stereo-(FM)-Sendern wäre in die genannte Gruppe einzuordnen.
Die Matrix-Systeme
Matrix-Systeme schließlich beruhen auf dem Mischen der ursprünglichen Kanalinformationen. Die vormals vier Kanäle des gesamten Quadro-Schallereignisses werden zu zwei neuen, speziell kodierten Kanälen zusammengefaßt. Über normale Stereosysteme können sie dann weitergeleitet und am Zielort wieder in vier Kanäle aufgeteilt den vier dafür vorgesehenen Lautsprechern zugeführt werden.
Mathematisch ausgedrückt : Da sich zwei Gleichungen mit vier Unbekannten nicht lösen lassen, werden die vier Kanäle letztlich nie mit dem Original identisch sein können: Sie enthalten immer Mischprodukte. Je nach Wahl des Mischungsverhältnisses kann der räumliche Schalleindruck einer Darbietung mehr oder weniger gut dem Original entsprechen.
.
CD-4
Dieses System, dessen Verfechter Nivico (JVC) und RCA sind, arbeitet folgendermaßen:
Auf einer Grammofonplatte erscheint anstelle des linken Kanals nun das Summensignal aus "links vorn plus links hinten", während der rechte Kanal die Summe aus "rechts vorn plus rechts hinten" enthält. Überdies wird in jeden der beiden Kanäle ein mit dem Differenzsignal aus "links vorn minus links hinten" bzw. "rechts vorn minus rechts hinten" frequenzmodulierter 30 kHz-Träger aufgenommen.
Diese jeweils zwei Summen- und Differenzsignale werden bei der Wiedergabe getrennt abgenommen. Durch einfaches Addieren und Subtrahieren können die vier Kanalinformationen (im Prinzip) vollständig zurückgewonnen werden.
.
.
Bild 2 zeigt schematisch die Modulation des linken Kanals. Das Summensignal mit der Bandbreite 15 kHz ist auf übliche Weise in die Platte geschnitten. Mit dem Differenzsignal wird ein Träger (eine Tträgerfrequenz !) zwischen 20 und 45 kHz asymmetrisch frequenzmoduliert (-10 kHz + 15 kHz), so daß auch Amplitudenmodulation und Verzerrungen entstehen.
Praktische Ergebnisse, die mit diesem System erzielt wurden, werden in einer nachfolgenden Vergleichsübersicht besprochen.
SQ und QS
Sowohl SQ (von CBS (USA) und Sony) als auch QS (von Sansui promoted) sind Matrix-Systeme. Hierbei werden die ursprünglichen vier Kanäle zu zweien zusammengefaßt und bei der Wiedergabe wieder in vier aufgeteilt.
Bei SQ wird das Mischverhältnis (nach Phase und Amplitude) auf bestmögliche Kanaltrennung zwischen links vorn und rechts vorn bzw. links hinten und rechts hinten abgestellt. CBS ging hauptsächlich davon aus, daß dies bei evtl. herkömmlicher Stereowiedergabe optimale Effekte gewährleistet. Aus der Vergleichsübersicht ist zu ersehen, in welchem Maße dies erreicht wurde. Das unvermeidliche Übersprechen findet zwischen "Vorn" und "Hinten" statt, vernehmlich auf den beiden Diagonalen.
Bei QS hingegen wurde ein Mischverhältnis gewählt, das angemessene quadrofonische Wiedergabe ermöglichen soll. Eine punktförmige Schallquelle im Aufnahmeraum wird mit einer Amplitudencharakteristik wiedergegeben, die der Kardioide sehr nahekommt.
Die Skizze in Bild 3 zeigt dies für das im nächsten Abschnitt zu besprechende System BMX, die Skizze gilt auch für QS. Diese Charakteristik ist immer zum Standort der ursprünglichen Schallquelle gerichtet. QS war Ausgangspunkt für die japanische Norm "Regulär Matrix" (RM).
.
UMX
UMX ist ein "Universal Matrix System", das theoretisch von Professor Cooper (USA) abgeleitet wurde. Die praktische Ausarbeitung erfolgte in Zusammenarbeit mit Nippon Columbia (die japanische CBS - Handelsname: Denon).
Ausgangspunkt war eine wissenschaftliche Grundlagenuntersuchung über die Eigenschaften von Matrix-Systemen. Hieraus entstand die optimale Zweikanal-Matrix: BMX.
Durch Hinzufügen eines weiteren Kanals entsteht die drei-kanalige TMX, während die QMX mit einem zusätzlichen vierten Kanal arbeitet. Relevant hierfür ist, daß der bei der Wiedergabe gehörmäßig fixierte Standort einer Schallquelle beim Übergang auf zwei-, drei- und vierkanalige Übertragung nicht verändert wird.
Die Positionsbestimmung wird nur genauer und schärfer: Bei BMX klingt ein Soloinstrument etwas "verschwommen" (innerhalb eines Abstandes von ungefähr 0,5 m), während der Schall bei den leistungsfähigeren Systemen TMX und QMX aus einem exakt bestimmbaren Punkt zu kommen scheint.
.

- Bild 4. Frequenzspektrum bei Plattenaufnahme nach System QMX (eine Rillen-Flanke). Mit einer Bandbreite von 0 ... 18 kHz werden die zwei Basiskanäle der BMX (einer auf jeder Rillenflanke) aufgenommen. Die teiden zusätzlichen Hilfskanäle werden je einem 30 kHz-Träger auf moduliert (FM), und zwar in einem Bereich zwischen 24 und 36 kHz.
.
Bild 3 zeigt die Charakteristiken von Amplitude und Phase, wie sie bei Wiedergabe einer Punktquelle entstehen. Die Amplitudencharakteristiken von BMX und QS sind gleich, sie lassen stets eine Ortung des ursprünglichen Standortes einer Schallquelle zu.
Ein wesentlicher Unterschied zu QS besteht jedoch darin, daß bei BMX auch die Phasencharakteristik "mitdreht": 0° entsprechen der Richtung der Schallquelle, während z.B. der Schall von den beiden Seiten her um ± 45° verschoben erscheint. Dieser zusätzlichen Information kommt einige Bedeutung bei der Ortsbestimmung zu.
Beim QS-System entsprechen 0° Phasendrehung immer dem Schall aus der gedachten Mitte (vorn), so daß Schallquellen nahe diesem Punkt in die Mitte gezogen werden.
Bei Schallplatten in UMX werden die zwei Basiskanäle wie bei BMX in üblicher Weise aufgenommen. Ein Basiskanal enthält das Monosignal, während der zweite Kanal die Differenzinformation für den Stereoeffekt beinhaltet. Der dritte (TMX) und vierte (QMX) Kanal führen je einen frequenzmodulierten 30 kHz-Träger, wie schon bei CD-4 beschrieben. Ein wesentlicher Unterschied zu diesem aber besteht darin, daß diese zwei Hilfskanäle recht schmalbandig gehalten werden können. Eine NF-Bandbreite von 3 kHz bei einer symmetrischen Frequenzmodulation zwischen 24 und 36 kHz genügt vollauf (s. Bild 4).
Der Grund für diese mögliche Begrenzung des NF-Bandes ist der kaum hörbare Unterschied zwischen BMX und QMX bei Frequenzen oberhalb ca. 3 kHz! Da die Ortung der verschiedenen Schallquellen bei allen Systemen gleichermaßen gut ist (abgesehen von der "Schärfe"), ist auch der Übergang bei der erwähnten Frequenzgrenze fast nicht wahrzunehmen.
Für Rundfunkübertragung kommt vor allem TMX in Betracht: Ein dritter Kanal kann ziemlich einfach untergebracht werden (beispielsweise durch Quadraturmodulation), jedoch scheinen vier Kanäle - jedenfalls in Europa - ein undurchführbares Verfahren zu sein. Dadurch würden größere Bandbreiten der Sender bedingt, was zu unzulässigen Störungen der Nachbarkanäle führte.
Die vier Systeme im Vergleich:
.
CD-4
.
- System:
4 diskrete Kanäle; Schallplatten werden mit Hilfe zweier FM-Hilfskanäle geschnitten; das analoge Dorren-System für FM-Rundfunküber-tragung ist für Europa ungeeignet. - Nachteile:
Schwankende Amplitudenverhältnisse zwischen den Kanälen führen zu Übersprechen und laufenden Positionsänderungen des Klangbildes. Breites NF-Band in den FM-Hilfs-kanälen bringt Rauschprobleme mit sich, wodurch eine Rauschunterdrückung unentbehrlich wird.
Hierfür wurde das ANRS-System entwickelt, das viele Übereinstimmungen mit dem Dolby-System aufweist; doch scheint dies in der Praxis nicht korrekt zu funktionieren, wenn das Trägerniveau sich ändert (z.B. durch Plattenverschleiß), da der FM-Detektor wahrscheinlich nicht optimal ist.
Überdies entstehen durch die asymmetrische FM-Bandbegrenzung Verzerrungen der Hilfskanäle, was sich bei der Wiedergabe in verzerrtem Übersprechen zwischen den einzelnen Kanälen äußert. Das Tonkopfsystem muß einen Frequenzbereich bis 45 kHz verarbeiten. - Ergebnis:
Die Standortbestimmung von Schallquellen ist - auch bei Stereo-Wiedergabe - gut. Die Amplitudencharakteristik als Funktion des Standortes der Schallquelle läßt Mono-Wiedergabe zu. Somit kann das System als kompatibel bezeichnet werden. Es entsteht aber ein deutliches "Schaukeln" des Standortes, da neben der Einstellung auch die Beibehaltung der Kanalbalance schwierig ist.
Außerdem tritt verzerrtes Übersprechen auf, so daß z.B. ein Trompetenstoß - aus einer Ecke - von verzerrten Klängen - aus den anderen Ecken - begleitet ist.
.
SQ
.
- System:
Matrixverfahren, das bei der Aufzeichnung zwei Paare vollständig getrennter Kanäle liefert, gleichzusetzen mit links vorn/rechts vorn bzw. links hinten/rechts hinten. Läßt Intensitäts-Stereofonie zu. - Nachteile:
Starkes Übersprechen zwischen beiden Kanalpaaren ist unvermeidbar. "Laufzeit"- oder "Phasenstereofonie" ist nicht möglich, da Fehler bei der Ortsbestimmung auftreten. Bei Verwendung einer automatischen Lautstärkeregelung ("gain control logic") ist es noch möglich, ein Signal, das aus einer der vier Ecken oder der Mitte (vorn) kommt, deutlich zu lokalisieren.
Dies kann jedoch für nur eine, nämlich die stärkste Schallquelle gleichzeitig geschehen. Zudem werden damit der Standort und die Signalgröße aller anderen Schallquellen, die zur gleichen Zeit aus den anderen Richtungen erklingen, beeinflußt. Ohne solch eine Regelung wird durch Übersprechen alles nach "rechts-vorn" oder "links-hinten" gezogen. - Ergebnis:
Mit "Logik": "Ping-pong-pang-peng-Effekte in Quadrofonie lassen sich erzeugen, doch sind Schallquellen zwischen den Lautsprechern fast nicht zu lokalisieren. Ohne "Logik" hat der scheinbare Standort von Schallquellen bei sowohl quadrofonischer als auch stereofonischer Wiedergabe nur wenig mit dem Original gemein. Die Amplitudencharakteristik als Funktion des Standortes jeweiliger Schallquellen läßt ein dermaßen merkwürdiges Klangbild entstehen, daß selbst Mono-Wiedergabe nicht zufriedenstellt.
.
QS
.
- System:
Matrix, die bei Wiedergabe eine "kardioide" Amplitudencharakteristik liefert (auf die Schallquelle "gerichtet"). Phase "Null Grad" ist immer Mitte-vorn, 180° ist Mitte-hinten. - Nachteile:
Indem die Phasencharakteristik festliegt, wird die Standortbestimmung ungünstig beeinflußt: Der scheinbare Standort einer Schallquelle wird zur Mitte vor oder dicht hinter den Zuhörer gezogen. Bei Verwendung einer automatisch phasengesteuerten Lautstärke- und Phasenregelung ("Variomatrix") kann der Standort der stärksten Schallquelle (Soloinstrument oder Interpret in einem Musikstück) gut fixiert werden, ungeachtet seines Standortes bei der Aufnahme (auch zwischen den Lautsprechern). - Ergebnis:
Das System ermöglicht eine angemessene quadrofonische Wiedergabe, wenn man davon absieht, daß sich die Schallquellen in der Mitte vorn und in der Mitte hinten etwas anhäufen. Auch die stereofonische Wiedergabe stellt sich einigermaßen zufrieden dar, das ursprüngliche Klangbild (zwischen links vorn und rechts vorn) wird zwar etwas dünn wiedergegeben, was sich jedoch durch Anpassung der Mikrofontechnik auffangen läßt. Die Mono-Wiedergabe ist durchaus akzeptabel. Einzig zu bemängeln wäre der Umstand, daß Schallquellen, die sich in der Mitte-hinten befinden, sehr schwach oder überhaupt nicht wiedergegeben werden. Solange hier nur Hall zu erscheinen hat, wirkt es sich weniger auffallend aus. Bei bestimmten Aufnahmen können jedoch Instrumente oder Klanggebilde unterschlagen werden.
.
UMX
.
- System:
Matrix besteht aus zwei (BMX), drei (TMX) oder vier (QMX) Kanälen. Theoretisch könnte die Anzahl der Kanäle beliebig erweitert werden. Bei zunehmender Anzahl der Kanälen zeigt sich die Amplitudencharakteristik immer schärfer auf die Schallquelle "ausgerichtet". Die Phasencharakteristik verhält sich bei allen Systemen gleich: Der 0°-Punkt fällt stets mit dem Standort einer Schallquelle zusammen. Für den FM-Rundfunk kommt TMX in Betracht, während für die Schallplattenaufnahme auch die Anwendung von QMX möglich ist. Der große Vorteil hierbei liegt darin, daß billigere Geräte nur die zwei Basiskanäle abzutasten und umzuwandeln haben, wie dies bei Stereo der Fall ist, um doch gute Quadrofonie zu liefern (BMX). Teurere Geräte hingegen können auch noch den dritten oder gar vierten Kanal detektieren, um eine Wiedergabe mit genauerer Lokalisierung zu erzielen. Evtl. Übersprechen zwischen den Kanälen verursacht geringere Genauigkeit beim Lokalisieren von Standorten, jedoch keine Standortverschiebung. - Nachteile:
Offensichtlich keine. - Ergebnis:
Besonders gut bei sowohl quadrofonischer als auch stereofonischer und monofonischer Wiedergabe.
.
Die Standortbestimmungen im Vergleich
Die Standortbestimmungen bei Stereo im Vergleich

- Bild 6. Vergleichende Übersicht über die Standortbestimmungen bei üblicher Stereo-Wiedergabe. Die Kreislinie zeigt den ursprünglichen Standort der Schallquelle, während der scheinbare Standort bei der Wiedergabe auf der horizontalen Linie angegeben ist (Makita). Die Lautsprecher stehen an den Punkten L und R.
Schlußbetrachtung (April 1973)
Aus dem Vergleich der vier Systeme miteinander geht hervor, daß SQ offensichtlich ein abweichendes Ziel verfolgt: Mit "Logik" zu vier betonten "Ecken" (zuzüglich "Mitte-vorn") zu kommen. Dies gelingt auch, so daß die Vorführungen sehr eindrucksvoll sind, trotz der aufgeführten Mängel.
Die Ergebnisse von CD-4 und QS sind als angemessen zu bezeichnen. Da einige Parameter nicht optimal sind, sind die peripheren Einrichtungen zur Rauschunterdrückung und Standortbestimmung unnötig kompliziert. Trotz dieser zusätzlichen Einrichtungen sind die Ergebnisse nicht voll zufriedenstellend.
Das UMX-System schließlich vereinigt die besten Eigenschaften beider Systeme auf sich zu einem optimalen Ganzen. Dieses System verdient darum auch aus technischer Sicht ohne weiteres den Vorzug.
Schade, daß die Diskussion über Quadrofonie z. Zt. (April 1973) wegen Sprachverwirrungen und kommerzieller Belange getrübt ist. Dadurch scheint selbst das UMX-System z.Zt. eine nur geringe Chance zu haben.
Oft wird als Argument vorgebracht, UMX sei zu spät entwickelt worden, so daß bereits große Investitionen in anderen Systemen steckten. Prof. Cooper bestreitet dies mit Nachdruck. Seiner Meinung nach sind die Unterschiede zu den anderen Systemen (besonders CD-4) so geringfügig, daß ein evtl. Umrüsten keine Schwierigkeiten bereitet.
Die Anzahl der bereits nach einem bestimmten System gepreßten Schallplatten dürfte auch (noch) nicht entscheidend sein. Etwas anderes wäre es, wenn eine Produktionsgesellschaft damit beginnen würde, sich mit ihrer Plattenkollektion an ein bestimmtes System zu binden. Dieser Fall ist glücklicherweise noch nicht eingetreten.
- Anmerkung : Da täuscht sich der Autor im Frühjahr 1973. Die großen europäischen Plattenfirmen hatten noch gar nicht angefangen bzw. sie hatten ein paar ernüchternde Tests gefahren und es blieb bei Laborversuchen. Gleiches galt für die verbliebenen europäischen und amerikanischen Anbieter von Hifi-Geräten. Alle warteten, bis sich ein einziges Quadro-System herauskristallieren würde. Und das ging schief. Sie lesen hier bereits, daß nach den beeindruckenden Demo-Platten die Ernüchterung bei konzertanter und auch Pop-Musik kam.
Angesichts der "schnell steigenden" Nachfrage nach Quadrofonie, vor allem in Amerika und Japan, aber auch in Europa, bleibt zu hoffen, daß man binnen kurzem zu einem definitiven System gelangt. Dabei sollten technische Argumente unbedingt den Ausschlag geben; vom Standpunkt des Technikers müßte dieser Beitrag den Titel tragen: UMX oder nichts!
Literatur:
.
- Proposed universal encoding Standards for compatible four-channel mixing: R. Itoh, Journal of the AES (Audio Engineering Society), April 1972, p. 167 f.
- Discrete-matrix multichannel Stereo: D.H. Cooper en T. Shiga, Japan AES, Juni 1972, p. 346 f. und Juli 1972, p. 493.
- Directional Information in reproduced sound: P.B. Fellgett, Wireless World, Sept. 1972, p. 413 f.
- The Japanese Regular Matrix: P.B. Fellgett, Hi-Fi news, Dez. 1972, p. 2393 f.
- SQ Matrix Quadrophonie Discs: B.B. Bauer, G.A. Budelman und D.W. Gravereaux, Japan AES, Jan. 1973, p. 19 f.
.










